# 流水线运行
# 执行流水线
进入 我的应用 > 流水线 > 选择分支和流水线。
点击右上角 新建流水线,将生成一条全新的流水线,再点击执行按钮运行流水线。
提示
手动触发流水线中所有节点的执行权限全部根据当前执行者的权限决定。 如果是定时流水线,则执行权限根据最后修改流水线yml的用户决定。
# 查看执行状态和结果
您可在界面上查看各个 Action 当前的执行状态,将鼠标悬浮在特定 Action 上可查看相应结果。

# 查看 Action 执行日志
点击相应 Action 上的日志按钮可查看其执行日志,还可根据需要下载日志、切换为错误日志等。

# 查看 Action 错误日志
点击相应 Action 上的日志按钮可查看其执行日志,点击标准按钮可切换为错误执行日志。
若流水线运行失败,错误日志中将体现具体的错误信息。

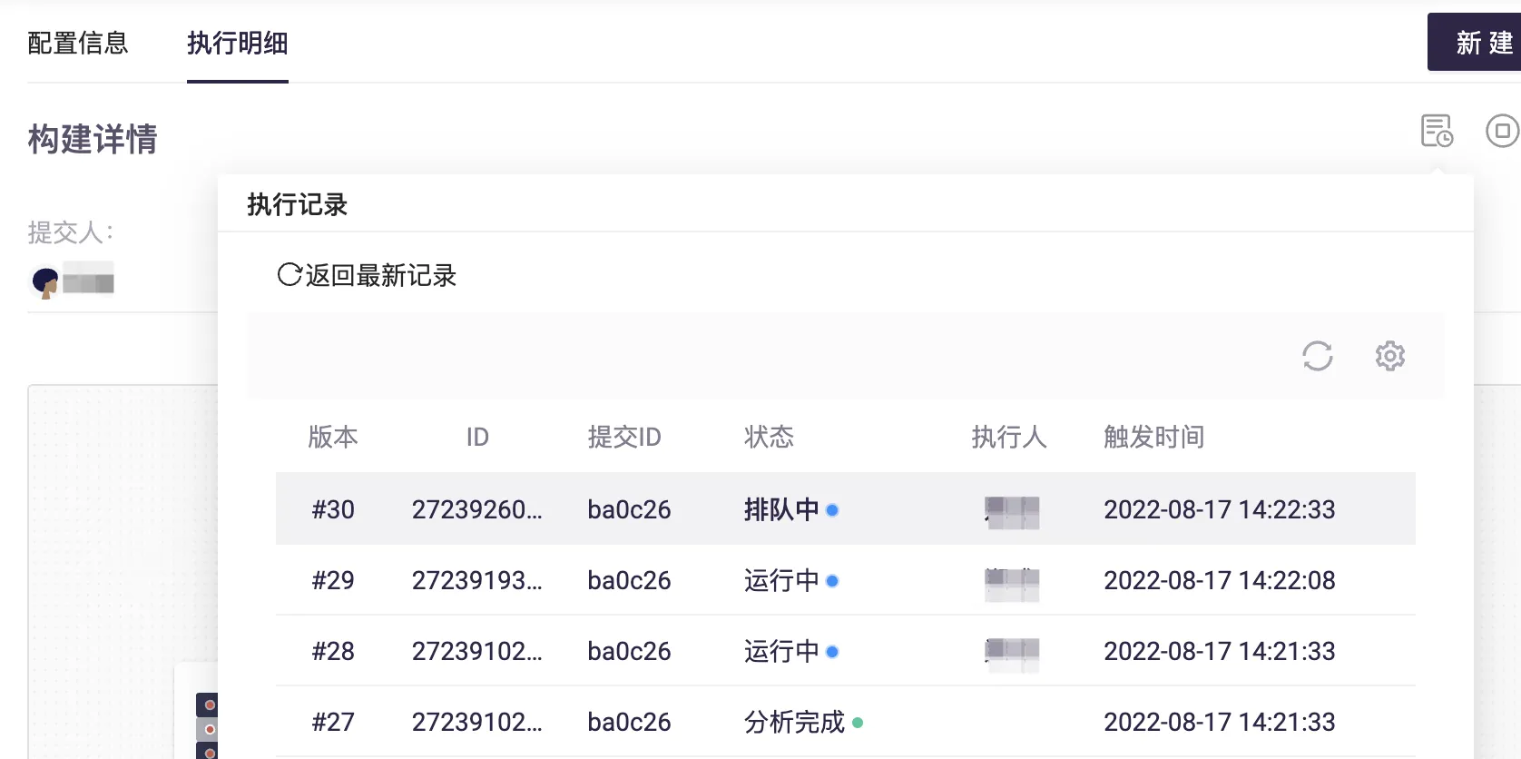
# 查看历史执行明细
点击右上角的执行记录按钮,可查看历史执行记录。点击相应历史记录后,流水线将切换为该历史记录,您可以查看相应的历史执行明细。

# CI/CD 流水线与队列
当前CI/CD流水线没有绑定队列,因此当有同名的流水线在执行中的话,将会阻止当前流水线继续执行。想要执行当前流水线的话,
要么取消已运行的同名流水线,要么等待运行,同时已运行的同名流水线可能造成on push或定时触发的流水线运行失败。
因此在2.3版本往后,将为CI/CD流水线自动绑定队列,所有希望运行的流水线进入队列,队列最终将根据并发数,cpu,内存容量等
按一定策略运行所有的流水线。
# 默认队列
在用户新建并执行流水线时,将根据流水线所在的项目与环境自动绑定队列。
绑定队列的资源大小
队列长度: 当前项目下应用的数量乘以2,默认值为20
队列CPU容量: 当前项目对应环境的CPU配额,默认值为30c
队列内存容量: 当前项目对应环境的内存配额,默认值为30Gi
默认绑定队列后,将可以有多条流水线同时运行,当不满足执行条件(比如队列长度已满,资源不足)时,后续的流水线将处于排队状态中, 直至满足执行条件。
# 取消执行
如下图所示,当前流水线有两条在执行中,一条处于排队中,用户可以选择执行记录中的流水线然后点击右上角的取消按钮,释放队列资源。
队列
